← Sez. 5 Indice Sez. 7 → PDF (EN)

Modifica immagine

Preview
Anteprima immagine

Gestione Immagini

Modifica o ripristina le immagini. Per file locali usa: images/nomefile.png

× Immagine ingrandita

SEZIONE 6 - PESO E BILANCIAMENTO / LISTA EQUIPAGGIAMENTI

Introduzione

Questa sezione descrive la procedura per stabilire il peso a vuoto basico e il momento dell'aeromobile. Sono inoltre fornite informazioni sulle procedure di caricamento.

DATUM: Flangia di supporto elica senza distanziale
MAC (Corda Aerodinamica Media): 1400 mm

Procedure di Pesata dell'Aeromobile

Preparazione

  1. Eseguire la procedura di pesata all'interno di un hangar chiuso
  2. Rimuovere dalla cabina qualsiasi oggetto lasciato involontariamente
  3. Assicurarsi della presenza a bordo di:
    • Manuale di volo
    • Certificato di navigabilità
    • Carte di navigazione, ecc.
  4. Allineare la ruota del muso
  5. Drenare il carburante tramite la valvola di scarico specifica
  6. Olio, liquido idraulico e refrigerante ai livelli operativi
  7. Spostare i sedili scorrevoli nella posizione più avanzata
  8. Portare i flap in posizione completamente retratta (0°)
  9. Posizionare le superfici di controllo in posizione neutra
  10. Posizionare le bilance (capacità min. 150 kg) sotto ogni ruota

Livellamento

  1. Livellare l'aeromobile usando il pavimento della cabina come riferimento
  2. Centrare la bolla di livella sgonfiando lo pneumatico anteriore

Pesata

  1. Registrare il peso mostrato su ogni bilancia
  2. Ripetere la procedura di pesata tre volte
  3. Calcolare il peso a vuoto

Determinazione della Posizione del C.G.

  1. Far cadere un filo a piombo tangente al bordo d'attacco (nella zona non rastremata della semiala, circa un metro dalla radice) e tracciare un segno di riferimento sul pavimento
  2. Ripetere l'operazione per l'altra semiala
  3. Tendere un filo tra i due segni
  4. Misurare la distanza tra la linea di riferimento e l'asse delle ruote principali
  5. Usando i dati registrati è possibile determinare la posizione del C.G. e il momento dell'aeromobile (vedi tabella seguente)

Rapporto di Pesata

Modello P92-JS     S/N: __________     Pesata n°: __________

Data: __________

Datum: Flangia supporto elica senza distanziale     Lista equipaggiamenti, data: __________

MAC: 1400 mm

Diagramma di Pesata
Schema di pesata con posizione bilance (quote 1405mm e distanza D dal datum)
Pesi (Kg)
Peso ruota anterioreW1 =
Peso ruota SXWL =
Peso ruota DXWR =
W2 = WL + WR=
Distanze (metri)
Distanza piombo ruota SXAL =
Distanza piombo ruota DXAR =
Distanza media (AL+ AR)/2A =
Distanza piombo dalla ruota anterioreB =

Peso a vuoto(1): We = W1 + W2 = __________ kg

D = (W2 · A - W1 · B) / We = __________ m

D% = (D / 1.4) · 100 = __________%

Momento peso a vuoto: M = [(D + 1.405) · We] = __________ Kg·m

WT = 550 kg WT = 600 kg Firma:
Peso massimo al decollo WT = 550 kg WT = 600 kg
Peso a vuoto We = We =
Carico utile max WT - We Wu = Wu =
NOTA (1): Include carburante inutilizzabile (2.3 kg).

Peso e Bilanciamento

Per determinare la posizione del C.G. dell'aeromobile e verificare che il C.G. rientri nell'escursione ammessa predeterminata, è necessario utilizzare il grafico nella pagina seguente. Il grafico riporta la posizione del C.G. in funzione del momento del peso a vuoto rispetto al datum come risulta dal rapporto di pesata.

Uso del Grafico "Peso e Bilanciamento" (pagina 6-6)

Per utilizzare il grafico è necessario conoscere il valore del braccio del momento rispetto al datum. Una volta trovato questo valore sull'ascissa, si traccia una parallela alle linee oblique fino a intersecare l'ordinata relativa al peso di pilota e passeggero. Da questo punto, si traccia una linea orizzontale fino al valore limite di 180 kg e, da qui, una parallela alle linee oblique fino a intersecare l'ascissa relativa al peso del carburante imbarcato. Si traccia quindi una linea orizzontale attraverso questo punto fino al valore limite di 70 litri e una nuova parallela alle linee oblique fino a intersecare l'ascissa relativa al bagaglio caricato dietro i sedili.

Si traccia un'altra linea orizzontale ed è così possibile verificare che l'intersezione di questo segmento con l'ascissa verticale relativa al peso totale al decollo dell'aeromobile ricada nell'area ombreggiata che rappresenta l'escursione ammissibile del C.G. in funzione del peso totale.

Le pagine 6-6 e 6-7 mostrano i grafici dell'escursione del C.G. in funzione del peso dell'aeromobile, le distanze in metri di piloti e bagaglio dal datum (flangia supporto elica).

Esempio (vedi pagina 6-6)

Grafico Peso e Bilanciamento
Fig. 6-1. Grafico Peso e Bilanciamento
Grafico Escursione C.G.
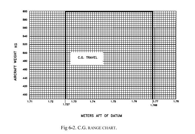
Fig. 6-2. Grafico Escursione C.G.
Escursione C.G.:
Limite anteriore: 1.727 m dal datum (23% MAC)
Limite posteriore: 1.769 m dal datum (26% MAC)

Caricamento

Il vano bagagli è progettato per un carico massimo di 20 kg. Le dimensioni del bagaglio devono evitare un carico eccessivo del ripiano di servizio (pressione massima 12.5 kg/dm2). Dimensioni massime bagaglio: 80 x 45 x 32 cm. Il bagaglio deve essere fissato con una rete di ancoraggio per prevenire qualsiasi movimento durante le manovre.

Dimensioni Cabina
Fig. 6-4. Dimensioni Cabina

Posizione dei Carichi rispetto al Datum

Posizione Carichi rispetto al Datum
Fig. 6-3. Posizione Carichi rispetto al Datum
Carburante
1.66 m
Pilota (valore medio)
1.76 m
Bagaglio
2.21 m

Lista Equipaggiamenti

Di seguito è riportata una lista completa di tutti gli equipaggiamenti forniti da TECNAM per il P92-JS. La lista è composta dai seguenti gruppi:

Le seguenti informazioni descrivono ogni voce dell'elenco:

NOTA: Gli articoli contrassegnati con un asterisco (*) fanno parte dell'installazione base. Inoltre, ulteriori equipaggiamenti contrassegnati con X nella colonna Inst. sono installati sull'aeromobile S/N in oggetto.
A - MOTORE E ACCESSORI
Rif.Descrizione e P/NInst.Peso kgDatum m
A1Motore Rotax 912S2 - p/n 309.120.133*59.00.32
A2Elica HOFFMANN p/n HO17GHM A 174 177C*4.50-0.08
A3Scarico e collettori - p/n SSB-978-480-CC*4.500.55
A4Scambiatore calore - p/n 92-11-830*2.000.55
A5Serbatoio olio (pieno) - p/n 956.137 o 656.865*4.000.61
A6Radiatore olio - p/n 886 025 o 886.033*0.400.07
A7Radiatore liquido raffreddamento - p/n 995.697 o 997.083*0.900.33
A8Filtro aria K&N - p/n 33-2544*0.400.60
A9Sistema strumenti vuoto - RA215CC Rapco3.000.25
A10Valvola vuoto RA2H3-120.1000.71
A11Pompa carburante p/n 21-11-342-000*0.2000.71
A12Serbatoio carburante 45 Lt. P/N 21-1-340-001/2*////
B - CARRELLO DI ATTERRAGGIO E ACCESSORI
Rif.Descrizione e P/NInst.Peso kgDatum m
B1Balestre carrello principale - p/n 92-8-300-1*5.7001.930
B2Cerchi ruote principali - CLEVELAND 40-78B o 199-102*2.0501.930
B3Pneumatici principali - AIR TRAC 5.00-5*2.5801.930
B4Freni a disco - Cleveland 30-9 o 160-17*0.8001.930
B5Cerchio ruota anteriore p/n 92-8-880-1 o 92-8-700-000*1.3000.310
B6Pneumatico anteriore - 4.00-6N1.2000.460
B7Pneumatico anteriore - AIR TRACK 5.00-51.5000.460
B8Carenatura ruota anteriore p/n 92-8-410-1/2N1.5000.460
B9Carenatura ruota anteriore p/n 27-8-420-11.5000.460
B10Carenatura ruota principale p/n 92-8-420-1/2x1.5001.930
B11Ammortizzatore anteriore p/n 92-8-200-000*1.4500.465
C - SISTEMA ELETTRICO
Rif.Descrizione e P/NInst.Peso kgDatum m
C1Batteria FIAMM 6H4P 12V 18Ah6.004.24
C2Regolatore, raddrizzatore - p/n 945.345*0.200.82
C3Relè batteria - p/n 111-226-5*0.304.19
C4Attuatore flap - SIR Mod. AO-01/M*2.202.57
C5Interruttore attuatore flap - FEME MS35059-34*0.081.20
C6Controllo attuatore trim Ray Allen C. T2-10A*0.405.75
C7Sensore sovratensione OS75-140.300.80
C8Sensore sovratensione B00289-2*0.300.80
C9Luce strobo - p/n 2005N0.155.52
C10Luci navigazione - AS W1285N0.152.30
C11Luce Nav-Strobo - AVE-WPTSG-54G0.252.30
C12Avvisatore stallo AS 164R o TECNAM 21-9-420-000*0.101.95
C13Faro atterraggio - AS GE 45090.501.50
C14Faro atterraggio - Pled1L0.601.50
C15BATTERY SPARK 5004.94.24
D - STRUMENTI
Rif.Descrizione e P/NInst.Peso kgDatum m
D1Altimetro - MIKROTECHINA p/n 1128.12B60.391.20
D2Altimetro - United Instruments p/n 5934PM-30.391.20
D3Ind. velocità - MIKROTECHINA 116.B0B2*0.301.20
D4Bussola - Airpath C2400 L4P*0.291.20
D5Orologio - DAVTRON mod. M 800*0.151.20
D6Variometro - MIKROTECHINA UL 30-42.20.351.20
D7Variometro - Wultrad Inc. p/n BC-2A0.351.20
D8Ind. virata e sbandamento - FALCON GAUGER TC02F-3-20.561.20
D9Ind. virata e sbandamento - Mid. Continent p/n 1394T100-TZ0.561.20
D10Indicatore assetto - FALCON G. GH02V-31.101.20
D11Indicatore assetto - RCA ALLEN INSTR. RCA 22-71.101.20
D12Girobussola - RCA ALLEN INSTR. RCA 11A-81.101.20
D13Girobussola - FALCON G. DG02V-31.101.20
D14Indicatore OAT - 397035001G VDO*0.051.20
D15Ind. temp. teste - 641-011-7047/-7048 VDON0.101.20
D16Ind. temp. teste - Ind. SOR 53 o SOR 59*0.101.20
D17Ind. temp. olio - VDO 644-001-7030N0.101.20
D18Ind. temp. olio - SOR 54*0.101.20
D19Strumenti vuoto - UMA Inc. 3-200-12*0.101.20
D20Ind. RPM elica - D1-112-5040 Aircraft MitchellN1.101.20
D21Ind. RPM elica - Sorlini (SOR52)*1.101.20
D22Ind. livello carburante - Road XID4.0008.00*0.561.20
D23Ind. pressione olio - Sorlini (SOR50, SOR50V)0.101.20
E - AVIONICA E ALTRO
Rif.Descrizione e P/NInst.Peso kgDatum m
E1Nav/Comm Trans. - Bendix/King KX1552.241.20
E2Indicatore Nav - Bendix/King KI2080.461.20
E3R/T VHF COMM Garmin SL401.201.20
E4Transponder - Bendix/King KT76A1.361.20
E5Ricevitore GPS/NAV e r/t COM GNS 430W2.311.20
E6R/T VHF COMM IC-A200 ICOM1.201.20
E7ELT ARTEX ME 4061.102.70
E8Transponder - Garmin GTX328 o GTX3351.001.20
E9Audio panel - Garmin GMA 340 o 3450.501.20
E10Indicatore VOR/Loc - Garmin GI106( )0.641.20
E11Antenna KA 92 GPS0.271.07
E12Antenna Transp. - Bendix/King KA600.351.50
E13Antenna GPS - Garmin 10120.171.07
E14Microfono - Telex TRA 1000.171.90
E15Antenna Garmin GA350.271.08
E16Antenna Comm CI 291 o CI 121*0.343.30
E17Antenna VOR/ILS CI 138C o CI 158C0.265.60
E18Antenna ELT0.212.70
E19Estintore Fire Fighting Enterprises Ltd BA51015-32.202.16
E20Estintore - HALON H3G 1301 o AMEREX A3441.002.16
E21Kit pronto soccorso*0.282.60
E22Encoder altitudine - Amery King A300.561.00
E23Ricevitore ADF - Bendix King KR871.381.20
E24Indicatore ADF - Bendix King KI2270.391.20
E25Antenna ADF - Bendix King KA44B1.892.05
E26GTN 6503.201.20
E27GTR225A1.071.20
E28GNC 255 o 255A1.361.20
E29ELT ACK E04 o Kannad Compact / Integra1.002.70
E30Antenna Transponder CI 1050.111.50
E31Antenna Marker CI1020.272.70

MANUALE DI VOLO P92-JS - SEZIONE 6: PESO E BILANCIAMENTO

Edizione 3 - Revisione 5 - 12 Luglio 2022

Traduzione italiana a scopo didattico - Fare sempre riferimento al documento originale in inglese

Scarica PDF Originale Sezione 6 (Inglese)

← Sezione 5: Prestazioni Indice Manuale Sezione 7: Descrizione Aeromobile →