← Sez. 6 Indice Sez. 8 → PDF (EN)

Modifica immagine

Preview
Anteprima immagine

Gestione Immagini

Modifica o ripristina le immagini. Per file locali usa: images/nomefile.png

× Immagine ingrandita

SEZIONE 7 - DESCRIZIONE AEROMOBILE E SISTEMI

Introduzione

Questa sezione fornisce la descrizione e il funzionamento dell'aeromobile e dei suoi sistemi.

Cellula

Ala

L'ala è costruita con un cassone centrale in lega leggera; un bordo d'attacco in alluminio con serbatoio carburante integrato è fissato al longherone anteriore mentre flap e alettone sono incernierati al longherone posteriore. I flap sono costruiti con un longherone centrale al quale sono unite le centine anteriori e posteriori; pannelli in alluminio avvolgenti coprono la struttura del flap. L'alettone è costruito con un longherone in alluminio al quale sono fissati un bordo d'attacco formato e centine in lamiera; un materiale sintetico termoindurente avvolgente copre la struttura dell'alettone.

Vista esplosa ala destra
Fig. 7-1. Vista esplosa ala destra

Fusoliera

La parte anteriore della fusoliera è costituita da una struttura mista: una struttura a traliccio con elementi speciali in acciaio per la cellula di sopravvivenza della cabina, e una struttura semi-monoscocca in lega leggera per la sezione inferiore della cabina. La parte posteriore della fusoliera è costruita con una struttura semi-monoscocca in lega di alluminio. Il vano motore è isolato dalla cabina da un parafiamma in acciaio inossidabile; i longheroni in acciaio del supporto motore sono collegati alla struttura a traliccio della cabina in quattro punti.

Impennaggi

La coda verticale è interamente metallica: lo stabilizzatore verticale è costituito da un doppio longherone con rivestimento lavorante mentre il timone è composto da un longherone di coppia in alluminio collegato a centine in lega leggera e rivestimento. La coda orizzontale è del tipo completamente mobile (stabilatore); la sua struttura è composta da un longherone tubolare in alluminio collegato a centine e bordo d'attacco; un materiale sintetico termoretraibile avvolgente copre la struttura dello stabilatore.

Comandi di Volo

I comandi di volo dell'aeromobile sono azionati attraverso barra e pedaliera convenzionali. Il controllo longitudinale agisce attraverso un sistema di aste ed è dotato di una linguetta di trimmaggio. Il controllo degli alettoni è di tipo misto con aste e cavi; il circuito di controllo a cavi è confinato all'interno della cabina ed è collegato a una coppia di aste posizionate nelle ali che controllano gli alettoni in modo differenziale. Il trimmaggio degli alettoni viene effettuato a terra attraverso una piccola linguetta posizionata sull'alettone sinistro.

I flap sono estesi tramite un servoattuatore elettrico comandato da un interruttore sul pannello strumenti. I flap agiscono in modo continuo, l'indicatore mostra le due posizioni relative al decollo (15°) e all'atterraggio (38°). Un interruttore automatico posizionato sul lato destro del pannello strumenti protegge il circuito elettrico.

Il trimmaggio longitudinale è eseguito da una piccola linguetta posizionata sullo stabilatore e controllato tramite un servo elettrico premendo un pulsante Su/Giù sulla barra di comando. Un interruttore deviatore posto sul pannello strumenti abilita il controllo dalla barra sinistra o destra; inoltre, un interruttore di sicurezza posizionato dall'indicatore di trim interrompe l'alimentazione dal circuito in caso di emergenza (vedi sezione 3).

Pannello Strumenti

Il pannello strumenti di tipo convenzionale consente il posizionamento di una vasta gamma di equipaggiamenti. Gli strumenti contrassegnati con un asterisco (*) sono opzionali.

Pannello Strumenti
Fig. 7-2. Pannello Strumenti

Riscaldamento Carburatore

La manopola del riscaldamento carburatore è di forma quadrata e si trova appena a sinistra del comando manetta centrale; quando la manopola è tirata completamente all'esterno dal pannello strumenti, i carburatori ricevono la massima aria calda. Durante il funzionamento normale, la manopola è su OFF.

Riscaldamento Cabina

La manopola del riscaldamento cabina è posizionata nella parte inferiore sinistra del pannello strumenti; quando la manopola è tirata completamente all'esterno, la cabina riceve la massima aria calda. Le bocchette sono posizionate vicino ai pedali del timone e sopra il pannello strumenti. Se necessario, l'aria fresca esterna può essere fatta circolare all'interno della cabina aprendo le bocchette delle porte.

Bloccaggio Frizione Manetta

È possibile regolare il bloccaggio della frizione della manetta serrando opportunamente il disco di bloccaggio frizione posizionato sul pannello strumenti vicino al comando manetta centrale.

Sedili e Cinture di Sicurezza

L'aeromobile è dotato di cinture di sicurezza a tre punti con fasce addominali e diagonali regolabili tramite una fibbia metallica scorrevole. I sedili sono costruiti con struttura tubolare in lega leggera e imbottitura in materiale sintetico. Una leva posizionata sul lato destro inferiore di ogni sedile consente la regolazione del sedile in base alla taglia del pilota.

Porte

Le porte dell'aeromobile sono dotate di maniglie esterne e interne con serratura fornita esternamente sul lato sinistro. Un meccanismo di blocco di sicurezza interno è posizionato in prossimità del bordo superiore della porta e deve essere utilizzato prima del volo per assicurare la porta. Il meccanismo ruota per agganciare il telaio della porta alla struttura tubolare della cabina.

Vano Bagagli

Il vano bagagli è situato dietro i sedili dei piloti. Il bagaglio deve essere distribuito uniformemente sul ripiano di servizio e il suo peso non deve superare 20 kg. Fissare il bagaglio utilizzando la rete di ancoraggio regolabile.

AVVERTENZA: Prima di caricare il bagaglio, verificare il peso dell'aeromobile e la posizione del C.G. (vedi sezione 6).

Gruppo Motopropulsore

MOTORE
ROTAX 912S2, 4 tempi, 4 cilindri contrapposti orizzontalmente, raffreddamento misto aria e liquido, doppia accensione elettronica, lubrificazione forzata
Potenza massima: 98.6 hp (73.5 kW) @ 5800 rpm/min (2388 rpm/min elica)
Rapporto di riduzione: 2.4286:1
Per ulteriori informazioni vedere: "Engine Operating Manual"
Gli strumenti di controllo motore sono posizionati sul lato destro del pannello strumenti.
ELICA
Elica bipala in legno HOFFMANN tipo: HO17GHM-174 177C o HO17GHM A 174 177C
Per ulteriori informazioni vedere "Service Manual" per P92-JS e "Propeller Service Manual".

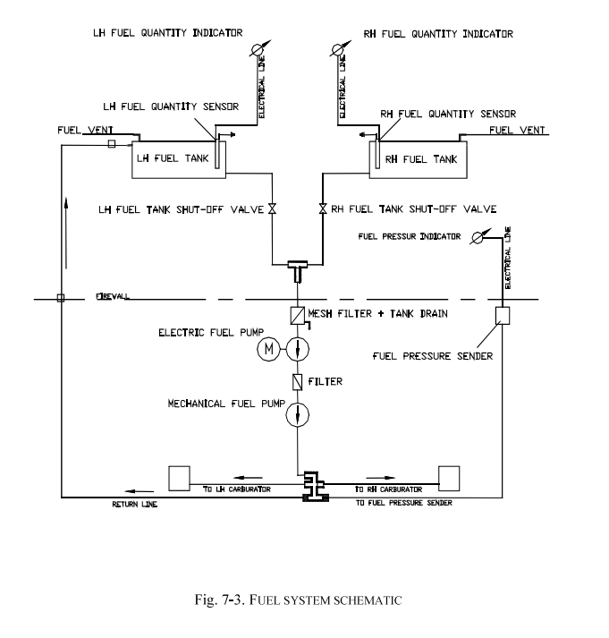
Sistema Carburante

Il sistema è equipaggiato con due serbatoi carburante in alluminio integrati nel bordo d'attacco dell'ala e accessibili per ispezione attraverso coperchi dedicati. La capacità di ogni serbatoio è 35 lt (45 lt opzionale) e il carburante utilizzabile totale è 66.8 lt (86.8 lt). Ogni serbatoio è dotato di una valvola di intercettazione installata in cabina. Un filtro decantatore con valvola di drenaggio (Gascolator) è posizionato sul lato motore del parafiamma. Gli indicatori del livello carburante per ogni serbatoio sono posizionati sul pannello strumenti.

L'alimentazione carburante avviene attraverso una pompa meccanica azionata dal motore e attraverso una pompa elettrica per le emergenze (normalmente ON per il decollo) che fornisce un'adeguata alimentazione al motore in caso di guasto della pompa principale. Tutte le linee carburante situate nel vano motore sono protette con guaina ignifuga per evitare possibili incendi. La Figura 7-3 illustra lo schema del sistema carburante.

Schema Sistema Carburante
Fig. 7-3. Schema Sistema Carburante

Sistema Elettrico

Il sistema elettrico dell'aeromobile consiste in un circuito a 12 Volt DC controllato dall'interruttore Generatore posizionato sul pannello strumenti. L'elettricità è fornita da un alternatore e da una batteria tampone posizionata nella sezione di coda della fusoliera. La spia del generatore è posizionata sul lato destro del pannello strumenti.

AVVERTENZA: Se la chiave di accensione è in posizione L, R o BOTH un movimento accidentale dell'elica può avviare il motore con possibile pericolo per i presenti.
Schema Sistema Elettrico
Fig. 7-4. Schema Sistema Elettrico

Spia Generatore

La spia del generatore (rossa) si illumina nelle seguenti condizioni:

La batteria può supportare i requisiti energetici per 26 minuti (vedi pagina 3-8).

Voltmetro-Amperometro

Il voltmetro indica la tensione sulla barra bus; un valore positivo dell'amperometro indica che il generatore sta caricando la batteria, un valore negativo indica la velocità di scarica della batteria.

Temperatura Olio e Teste Cilindri - Pressione Olio

Questi strumenti sono collegati in serie con i rispettivi sensori. Lo stesso interruttore automatico protegge tutti gli strumenti di temperatura mentre un secondo interruttore protegge l'indicatore di pressione olio e altri strumenti.

Indicatore O.A.T.

Un indicatore digitale della temperatura dell'aria esterna (°C) è posizionato nella parte superiore sinistra del pannello strumenti. Il sensore è posizionato sulla parte superiore della cabina.

Sistema Avviso Stallo

L'aeromobile è equipaggiato con un sistema di avviso stallo costituito da un sensore posizionato sul bordo d'attacco dell'ala destra collegato a un avvisatore acustico posizionato sul pannello strumenti.

Avionica

La parte centrale del pannello strumenti ospita gli equipaggiamenti avionici. Il produttore di ogni singolo sistema fornisce le caratteristiche per ogni sistema.

Alimentazione Esterna

Sul lato destro del cono di coda è presente una presa per alimentazione esterna. Utilizzando questo dispositivo è possibile alimentare il sistema elettrico da una fonte di alimentazione esterna. Dovrebbe essere utilizzato per l'avviamento del motore in condizioni di freddo.

Seguire questa procedura per avviare il motore utilizzando l'alimentazione esterna:

  1. Magneti, interruttore Master, interruttore Generatore: OFF
  2. Aprire lo sportello della presa e inserire la spina della fonte di alimentazione esterna nella presa
  3. Procedura di avviamento motore (vedi Sez. 4 di questo manuale)
  4. Scollegare la spina della fonte di alimentazione esterna e chiudere saldamente lo sportello della presa

Sistema Pitot e Pressione Statica

Il sistema indicatore di velocità dell'aeromobile è mostrato di seguito e consiste in due prese statiche posizionate sui lati dell'aeromobile davanti alla cabina e da un tubo di Pitot posizionato sul montante dell'ala sinistra.

Sistema Indicatore Velocità
Fig. 7-5. Sistema Indicatore Velocità

Freni

Il sistema frenante dell'aeromobile è un sistema unico che agisce su entrambe le ruote del carrello principale attraverso freni a disco, lo stesso circuito funge da freno di parcheggio tramite una valvola di intercettazione.

Per attivare i freni è sufficiente verificare che la valvola di intercettazione del freno posizionata sul tunnel tra i piloti sia su OFF, quindi attivare la leva del freno secondo necessità.

Per attivare il freno di parcheggio tirare la leva del freno e impostare la valvola di intercettazione del freno su ON.

Targhette e Placche

Tabella Deviazione Bussola

Per compensare gli errori di deviazione della bussola magnetica, la seguente scheda di correzione è posizionata immediatamente sotto la bussola:

PerN3060E120150
Virare
PerS210240W300330
Virare
DATARADIO ONAIRPATH

Questa targhetta deve essere compilata da un operatore certificato con strumentazione valida e appropriata.

La seguente targhetta è posizionata sul tunnel del pavimento della cabina, vicino alla valvola di intercettazione del circuito idraulico dei freni:

PARKING BRAKE
PULL BRAKE LEVER and
OFF ← → ON

Due manopole di comando manetta sono posizionate sul pannello strumenti. Una è posizionata centralmente mentre l'altra è sul lato superiore sinistro. La seguente targhetta è vicino a ciascuna:

THROTTLE

Un bloccaggio frizione manetta è posizionato sul pannello strumenti per mantenere l'impostazione desiderata. La seguente targhetta è posizionata vicino al bloccaggio frizione:

THROTTLE LOCK
+ ↔ -

Le valvole di intercettazione carburante sono posizionate sui membri anteriori del traliccio della cabina. La valvola DX interrompe il flusso dal serbatoio DX; la valvola SX interrompe il flusso dal serbatoio SX. Quando la leva della valvola è allineata con il membro del traliccio, la valvola è aperta; se la leva è ruotata di 90° rispetto al membro del traliccio, la valvola è chiusa.

ON ← LH FUEL TANK SHUT-OFF VALVE → OFF
ON ← RH FUEL TANK SHUT-OFF VALVE → OFF

La manopola del riscaldamento cabina è posizionata nell'area centrale del pannello strumenti appena a destra del comando manetta:

CABIN HEAT
Pull-on

La manopola del riscaldamento carburatore è posizionata nell'area centrale del pannello strumenti appena a sinistra del comando manetta:

CARB. HEAT
Pull-on

Il controllo dell'interruttore trim è posizionato nell'area centrale superiore del pannello strumenti alternando il controllo trim alla barra DX o SX:

TRIM SWITCH
LH ↔ RH

Un interruttore posizionato nell'area centrale superiore del pannello strumenti interrompe l'alimentazione al sistema trim in caso di malfunzionamento:

TRIM DISCONNECT
ON
OFF

Interruttori Automatici

Gli interruttori automatici sono posizionati sul lato destro inferiore del pannello strumenti e ognuno è contrassegnato individualmente come segue (da sinistra a destra):

BATT 25A STALL 1A OT/HT 3A Televel/OP 3A INSTR 7.5A TRIM 3A FLAP 7.5A STROBE 5A Land.L 10A Fuel PUMP 7.5A
COM. 10A GPS 5A Transp. 3A ENC. 2A Audio 5A NAV L. 7.5A AVAILABLE AVAILABLE AVAILABLE

L'interruttore di controllo flap è posizionato nella parte inferiore del pannello strumenti, leggermente verso destra:

FLAP
UP
DOWN

Una targhetta di 74x7 mm è posizionata sul pannello strumenti per indicare la posizione dell'estintore:

FIRE EXTINGUISHER ON BAGGAGE FLOOR

Gli interruttori Generatore e Master sono posizionati nella parte inferiore sinistra del pannello strumenti:

ON
MASTER
OFF
ON
GENERATOR
OFF

Una spia di avviso generatore è posizionata nella parte superiore destra del pannello strumenti:

ALT

Targhette Esterne alla Cabina

Il tappo del serbatoio di troppo pieno per il liquido antigelo riporta la seguente targhetta:

80% ANTIFREEZE
+
20% WATER

Il tappo del serbatoio del liquido dei freni riporta la seguente targhetta:

SPECIFY
HYDRAULIC OIL
MIL H5606

La seguente targhetta è posizionata in prossimità dei tappi di rifornimento carburante (28x63mm):

AUTOMOTIVE FUEL, ROZ MIN. 95 OCT.
LEADED OR UNLEADED
AVGAS 100LL
CAPACITY 35 LT (9.2 US gal.)
AUTOMOTIVE FUEL, ROZ MIN. 95 OCT.
LEADED OR UNLEADED
AVGAS 100LL
CAPACITY 45 LT (11.9 US gal.)

Le seguenti targhette sono posizionate sul serbatoio olio:

AUTOMOTIVE OIL
API "SF" OR "SG"
AUTOMOTIVE OIL
CAPACITY 3.0 LT

La seguente etichetta è posizionata sotto ogni porta per l'apertura di emergenza:

IN CASE OF EMERGENCY
GRASP HANDLE AND
PULL WITH FORCE HERE

La pressione di gonfiaggio degli pneumatici del carrello principale è indicata nella seguente etichetta apposta su ogni balestra:

40 PSI
2.8 Bar

La seguente etichetta indica la pressione di gonfiaggio per lo pneumatico del carrello anteriore (32 psi se è installato lo pneumatico 5.00 e 15 psi se è installato lo pneumatico 4.00):

32 PSI
2.2 Bar
15 PSI
1.0 Bar

Il riferimento 0° per il bilanciamento dello stabilatore è posizionato sul lato sinistro del cono di coda in prossimità dello stabilatore:

0° STABIL.

La seguente targhetta di identificazione dell'aeromobile è posizionata sul cono di coda:

TECNAM S.R.L.
P92 - JS
S/N _______
CERT. N° A-412

Sul lato destro del cono di coda, accanto allo sportello di accesso alla batteria, è presente la seguente targhetta (69x17mm):

BATTERY INSIDE

Sul lato destro del cono di coda, sullo sportello della presa di alimentazione, è presente la seguente targhetta (135x25mm):

EXTERNAL POWER RECEPTACLE
12 Volt - DC

Su entrambe le carenature del carrello principale è presente la seguente targhetta (120x22mm):

NO STEP
NOTA: Fare riferimento alla sezione 9 per possibili variazioni.

MANUALE DI VOLO P92-JS - SEZIONE 7: DESCRIZIONE AEROMOBILE E SISTEMI

Edizione 3 - Revisione 5 - 12 Luglio 2022

Traduzione italiana a scopo didattico - Fare sempre riferimento al documento originale in inglese

Scarica PDF Originale Sezione 7 (Inglese)

← Sezione 6: Peso e Bilanciamento Indice Manuale Sezione 8: Movimentazione →