← Sez. 3 Indice Sez. 5 → PDF (EN)

Modifica immagine

Preview
Anteprima immagine

Gestione Immagini

Modifica o ripristina le immagini. Per file locali usa: images/nomefile.png

× Immagine ingrandita

SEZIONE 4 - PROCEDURE NORMALI

Introduzione

La Sezione 4 contiene le checklist e le procedure per la condotta delle operazioni normali.

Montaggio e Smontaggio Cappottatura Motore

Cappottatura Superiore

Procedura di Smontaggio

  1. Freno di parcheggio: ON
  2. Rubinetti carburante: OFF
  3. Interruttore generatore OFF, Master switch OFF, Magneti: OFF
  4. Sbloccare tutti e quattro i Cam-lock a farfalla montati sulla cappottatura ruotandoli di 90° in senso antiorario mentre si preme leggermente verso l'interno.
  5. Rimuovere la cappottatura motore facendo attenzione all'albero dell'elica che passa attraverso il muso.
  6. Per il montaggio: appoggiare la cappottatura orizzontalmente assicurando il corretto inserimento dei perni di riferimento alla base del muso.
  7. Fissare i fermi applicando leggera pressione, verificare il corretto assemblaggio e chiudere i Cam-lock.
AVVERTENZA I Cam-lock a farfalla sono chiusi quando le linguette sono orizzontali e aperti quando le linguette sono verticali. Verificare che la linguetta sia sotto il fermo prima di chiudere.

Cappottatura Inferiore

Procedura di Smontaggio

  1. Dopo aver smontato la cappottatura superiore, portare l'elica in posizione orizzontale.
  2. Usando un cacciavite standard, premere e ruotare di 90° i due Cam-lock posizionati sulla cappottatura inferiore vicino al parafiamma.
  3. Estrarre il primo perno cerniera posizionato sul lato del parafiamma, poi, tenendo la cappottatura, estrarre il secondo perno cerniera; rimuovere la cappottatura con movimento verso il basso.
  4. Per l'installazione seguire la procedura inversa.

Ispezioni Pre-Volo

Prima di ogni volo, e necessario effettuare un'ispezione completa dell'aeromobile iniziando con un'ispezione esterna seguita da un'ispezione interna come di seguito dettagliato.

Ispezione Cabina

AManuale di Volo: verificare che una copia sia a bordo
BPeso e bilanciamento: verificare che siano entro i limiti
CCinture di sicurezza usate per bloccare i comandi: libere
DComandi di volo: azionare i comandi per assicurare il libero movimento delle aste e delle superfici di controllo
EFreno di parcheggio: inserito
FManetta: regolare il fermo di frizione
GMagneti: OFF
HMaster switch: ON
IVoltmetro: verificare (10-12 V); Amperometro: verificare (rosso)
JInterruttore generatore: ON, verificare che la spia generatore sia accesa
KPompa carburante: ON, verificare spia accesa, rumore udibile e corretto funzionamento dell'indicatore di pressione carburante
LInterruttore avionica: ON, verificare funzionamento; al termine, riposizionare su OFF
MComando flap: azionare fino a completa estensione verificando i limiti di corsa e l'indicazione strumentale
NComando trim: azionare a fondo corsa verificando i limiti di corsa e l'indicazione strumentale
OAvvisatore acustico di stallo: verificare funzionamento
PLuci di navigazione e strobo: verificare funzionamento
QLuce di atterraggio: verificare funzionamento
RInterruttore generatore: OFF
SMaster switch: OFF
TLivello carburante: verificare in base al piano di volo
UBagaglio: verificare corretto stivaggio con rete di ancoraggio
AVVERTENZA Il livello di carburante indicato dagli indicatori di quantita (sul pannello strumenti) e solo indicativo. Per la sicurezza del volo, il pilota deve verificare la quantita effettiva di carburante imbarcato prima del decollo.

Ispezione Esterna

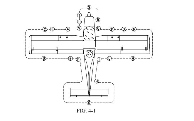
Per effettuare l'ispezione esterna sara necessario seguire la checklist sotto riportata con l'ordine delle stazioni indicato in figura 4-1.

AVVERTENZA L'ispezione visiva e definita come segue: verificare difetti, crepe, distacchi, gioco eccessivo, installazione non sicura o impropria cosi come le condizioni generali. Per le superfici di controllo, l'ispezione visiva include anche la verifica della liberta di movimento e del fissaggio.
Schema stazioni ispezione pre-volo
Fig. 4-1: Stazioni di ispezione pre-volo
ATappo serbatoio carburante sinistro: verificare visivamente il livello desiderato e che sia sicuro. Sfiato serbatoio sinistro: verificare assenza di ostruzioni.
BRimuovere il cappuccio di protezione e verificare che il tubo di Pitot montato sul montante sinistro non sia ostruito, non soffiare all'interno degli sfiati, riporre il cappuccio in aeromobile.
CBordo d'attacco e rivestimento ala sinistra: ispezione visiva
DAlettone sinistro: ispezione visiva
EFlap sinistro e cerniere: ispezione visiva
FCarrello principale sinistro: verificare gonfiaggio 40 psi (2.8 bar), condizione pneumatico, allineamento, condizione rivestimento fusoliera.
GPiano orizzontale e tab: ispezione visiva
HPiano verticale e timone: ispezione visiva
ICarrello principale destro: verificare gonfiaggio 40 psi (2.8 bar), condizione pneumatico, allineamento, condizione rivestimento fusoliera.
LFlap destro e cerniere: ispezione visiva
MAlettone destro: ispezione visiva
NBordo d'attacco e rivestimento ala destra: ispezione visiva
OVerificare liberta di movimento del microinterruttore rilevatore di stallo sul bordo d'attacco destro, attivare il Master switch e verificare che il segnale acustico di avvertimento stallo in cabina sia operativo, disattivare il Master switch.
PTappo serbatoio carburante destro: verificare visivamente il livello desiderato e che sia sicuro. Sfiato serbatoio destro: verificare assenza di ostruzioni.
QPresa statica lato destro: verificare assenza di ostruzioni, non soffiare all'interno degli sfiati (leggere nota).
RRuotino anteriore e ammortizzatore: verificare gonfiaggio 32 psi (2.2 bar), condizione pneumatico e condizione dei dischi in gomma dell'ammortizzatore.
SElica e ogiva: verificare assenza di tacche e fissaggio.
TAprire la cappottatura motore ed eseguire la seguente checklist:
  1. Verificare assenza di oggetti estranei.
  2. Verificare assenza di perdite nel circuito di raffreddamento, controllare livello serbatoio liquido raffreddamento, assicurarsi che il radiatore a nido d'ape non sia ostruito.
  3. Verificare assenza di perdite nel circuito di lubrificazione, controllare livello serbatoio olio, assicurarsi che il radiatore a nido d'ape non sia ostruito.
  4. Aprire entrambi i rubinetti carburante, ispezionare il circuito carburante per perdite, verificare integrita delle guaine di protezione ignifughe, drenare il circuito usando un recipiente per raccogliere il carburante aprendo la valvola di drenaggio specifica situata sul parafiamma, chiudere i rubinetti carburante. Verificare assenza di acqua o altri contaminanti.
  5. Verificare integrita delle sospensioni silent-block.
  6. Verificare connessione e integrita del sistema di presa d'aria, ispezionare visivamente che la presa d'aria dinamica non sia ostruita.
  7. Verificare che tutte le parti siano sicure e frenate.
UChiudere la cappottatura motore.
VVerificare che la presa statica lato sinistro non sia ostruita.
ZRimuovere barra di traino e tacchi.
NOTA Evitare di soffiare all'interno del tubo di Pitot montato sul montante sinistro e all'interno delle prese statiche del sistema anemometrico poiche cio potrebbe danneggiare gli strumenti.
NOTA L'operazione di drenaggio deve essere effettuata con l'aeromobile parcheggiato su superficie piana.

Checklist

Prima dell'Avviamento Motore (dopo l'ispezione pre-volo)

  1. Pianificazione volo, consumo carburante, rifornimento.
  2. Verificare corretto caricamento aeromobile e corretta posizione del CG (vedere Sezione 6).
  3. Posizione sedili e regolazione cinture di sicurezza.
  4. Porte: chiuse
  5. Freno di parcheggio: ON
ATTENZIONE L'interruttore generale avionica deve essere su OFF durante l'avviamento del motore per evitare danni alla strumentazione avionica.

Avviamento Motore

  1. Interruttori automatici (Circuit Breaker): verificare inseriti
  2. Master switch: ON. Controllare Voltmetro e Amperometro.
  3. Rubinetti carburante: entrambi ON
  4. Pompa carburante elettrica: ON (verificare rumore udibile pompa e pressione carburante)
  5. Manetta motore: minimo
  6. Starter (arricchitore): secondo necessita
  7. Magneti: BOTH
  8. Area elica: LIBERA
AVVERTENZA Verificare che nessuna persona o oggetto sia presente nell'area vicino all'elica.

Avviamento Motore (continua)

  1. Chiave accensione: START
  2. Interruttore generatore: ON e verificare Amperometro "verde".
  3. Giri elica: 1000-1100 rpm
  4. Starter: OFF
  5. Strumenti motore: verificare
  6. Verificare aumento pressione olio entro 10 sec. (valore massimo a freddo 7 bar)
  7. Pompa carburante elettrica: OFF
  8. Pressione carburante: verificare
  9. Pompa carburante elettrica: ON

Prima del Rullaggio

  1. Radio e utenze: ON
  2. Altimetro: regolare
  3. Luci di navigazione: secondo necessita
  4. Richiedere OK dalla torre, freno di parcheggio OFF e rullare.

Rullaggio

  1. Freni: VERIFICARE
  2. Strumenti di volo: VERIFICARE

Prima del Decollo

  1. Freno di parcheggio: ON
  2. Accendere luci di navigazione, strobo e luce di atterraggio.
  3. Strumenti motore: verificare
    • Temperatura olio: 50-110°C
    • Temperatura teste cilindri: max 135°C oppure Temperatura liquido raffreddamento: max 120° (se applicabile Rotax SB912-066 sul numero di serie motore)
    • Pressione olio: 2-5 bar
    • Pressione carburante: 2.2-5.8 psi oppure 2.2-7.2 psi (se installata pompa carburante part no. 893115 e 893114)
  4. Amperometro: verificare che l'alternatore stia caricando.
  5. Elica a 1700 rpm e testare Magneti (il calo di giri con un solo circuito di accensione non deve superare 130 rpm elica).
  6. Indicatori livello carburante: verificare
  7. Flap: 15° (decollo)
  8. Barra libera e trim a zero
  9. Cinture allacciate e porte chiuse.

Decollo e Salita

  1. TWR: OK per decollo
  2. Verificare finale libero e vento sulla pista.
  3. Freno di parcheggio: OFF
  4. Aria calda carburatore: OFF
  5. Rullare per allinearsi
  6. Piena manetta (circa 2100 ± 100 rpm elica)
  7. Velocita di rotazione Vr=47 Kts per 550 kg MTOW e Vr=48 Kts per 600 kg MTOW.
  8. Rotazione e decollo
  9. Leggera frenata per arrestare la rotazione delle ruote
  10. Flap: retratti
  11. Luce di atterraggio: OFF
  12. Regolazione trim
  13. Stabilire rateo di salita
  14. Pompa carburante elettrica: OFF

Crociera

  1. Raggiungere la quota di crociera
  2. Impostare potenza e giri motore per la crociera.
  3. Strumenti motore: verificare
    • Temperatura olio: 90°-110°C
    • Temperatura teste cilindri: 90°-135°C oppure Temperatura liquido raffreddamento: 90°-120°
    • Pressione olio: 2-5 bar
    • Pressione carburante: 2.2-5.8 psi oppure 2.2-7.2 psi
  4. Aria calda carburatore: secondo necessita, vedere paragrafo sull'aria calda carburatore nella Sezione 3.
NOTA Compensare consumi asimmetrici imprevisti tra serbatoio sinistro e destro agendo, se possibile, solo sul selettore carburante sinistro in modo appropriato per evitare la chiusura erronea di entrambi i rubinetti carburante.

Prima dell'Atterraggio

  1. Contattare TWR.
  2. Pompa carburante elettrica: ON
  3. Rubinetti carburante: entrambi ON
  4. Accendere luce di atterraggio.
  5. Verificare finale pista e stabilire discesa e avvicinamento al finale.
  6. Estendere i flap gradualmente fino alla deflessione massima di 38°.
  7. Velocita ottimale di touchdown: 44 Kts per 550 kg MTOW e 45 Kts per 600 kg MTOW

Riattaccata (Balked Landing)

  1. Piena manetta
  2. Flap: posizione TO (decollo)
  3. Velocita: 60 KIAS (63 KIAS) per 550 kg MTOW (600 kg)

Atterraggio Normale

  1. Atterrare e rullare.
  2. Flap:
  3. Freno di parcheggio: ON
  4. Spegnere luce di atterraggio, luci di navigazione e strobo.

Spegnimento Motore

  1. Mantenere il motore a 1200 rpm per circa due minuti per ridurre il calore latente.
  2. Pompa carburante elettrica: OFF
  3. Spegnere tutte le utenze elettriche.
  4. Magneti: OFF
  5. Interruttore generatore e Master switch: OFF
  6. Rubinetti carburante: entrambi OFF

Controllo Post-Volo

  1. Inserire il cappuccio di protezione sul tubo di Pitot sul montante ala sinistra.
  2. Bloccare i comandi usando le cinture di sicurezza.

MANUALE DI VOLO P92-JS - SEZIONE 4: PROCEDURE NORMALI

Edizione 3 - Revisione 5 - 12 Luglio 2022

Traduzione italiana a scopo didattico - Fare sempre riferimento al documento originale in inglese

Scarica PDF Originale Sezione 4 (Inglese)

← Sezione 3: Procedure di Emergenza Indice Manuale Sezione 5: Prestazioni →