← Sez. 8 Indice PDF (EN)

Modifica immagine

Preview
Anteprima immagine

Gestione Immagini

Modifica o ripristina le immagini. Per file locali usa: images/nomefile.png

× Immagine ingrandita

SEZIONE 9 - SUPPLEMENTI

Questa sezione contiene i supplementi al Manuale di Volo per equipaggiamenti opzionali e configurazioni specifiche dell'aeromobile P92-JS.

Supplemento N° 1

GARMIN GNS 430 GPS/VHF COMM/NAV

1 - Introduzione

Questa sezione contiene informazioni supplementari per il funzionamento sicuro ed efficiente dell'aeromobile se equipaggiato con il sistema Garmin GNS 430.

1.2 - Generalità

  1. Il GPS GNS 430 Global Positioning System è un sistema integrato che contiene un sistema di navigazione GPS oltre a un ricetrasmettitore VHF COMM e un ricevitore VOR/ILS.
  2. Il sistema include un'antenna per GPS, un ricevitore GPS, un ricevitore VOR/LOC, un'antenna VHF Comm e un ricetrasmettitore VHF Comm.
  3. La funzione principale del VHF Comm è permettere la comunicazione con la torre di controllo.
  4. La funzione VOR/ILS è dedicata a ricevere e demodulare i segnali VOR e LOC.
  5. La sezione GPS è dedicata all'acquisizione dei segnali dal sistema satellitare GPS e a fornire informazioni in tempo reale riguardo posizione, velocità e tempo.
  6. Con segnali appropriati il GPS GNS 430 può:
    • Pianificare rotte VFR/IFR, tracciare waypoint e pianificare avvicinamenti non di precisione (GPS, LORAN-C, VOR, VOR-DME, TACAN, NDB, NDB-DME, RNAV) in conformità con AC 20-138
  7. Le coordinate di riferimento usate per la navigazione sono WGS-84.

1.3 - Limitazioni

  1. La "Pilot's guide and Reference" p/n 190-00140-00 rev. F datata Luglio 2000 o versioni successive deve essere disponibile per l'uso corretto dello strumento.
  2. È permesso solo l'uso VFR.
  3. La sezione GPS deve utilizzare le seguenti versioni software (o più recenti approvate):
    Sottosistema Versione Software
    MAIN2.00
    GPS2.00
    COMM1.22
    VOR/LOC1.25

Impostazioni Predefinite Richieste

Le seguenti impostazioni predefinite devono essere inserite nel menu SETUP 1:

DIS, SPD nm kt (miglia nautiche e nodi)
ALT, VS ft fpm (piedi e piedi al minuto)
MAP DATUM WGS 84
POSN deg-min (gradi-minuti decimali)

1.4 - Procedure di Emergenza

  1. Se le informazioni fornite dal Garmin GNS430 non sono disponibili o sono manifestamente errate, è necessario utilizzare altri strumenti di navigazione.
  2. Se il messaggio "WARN" appare nella parte inferiore sinistra del display, il ricevitore non può essere considerato utile come ausilio alla navigazione.
  3. Se il messaggio "INTEG" appare, la funzione RAIM non è disponibile.
  4. In condizioni di emergenza, premendo la manopola flip-flop COM per 2 secondi si sintonizzerà automaticamente la frequenza 121.500 MHz.

1.5 - Operazioni Normali

Le operazioni normali sono descritte nella "Pilot's guide and Reference" P/N 190-00140-00 rev. F datata Luglio 2000 o versioni successive.

1.6 - Prestazioni

Nessuna variazione.

1.7 - Peso e Bilanciamento

Vedere la Sezione 6 del presente manuale.

1.8 - Sistemi

Vedere "GNS 430 Pilot's Guide" per una descrizione completa del sistema.

Supplemento N° 2

TRAINO STRISCIONI (BANNER TOWING)

2 - Introduzione

Questa sezione contiene informazioni supplementari per il funzionamento sicuro ed efficiente dell'aeromobile se equipaggiato con un gancio per traino striscioni (Mod. Number 92/27).

2.3 - Limitazioni

Dimensioni striscione massime: 140 m²
MTOW con striscione 140m²: 460 kg
Altitudine aeroporto massima: 3000 ft
Velocità minima traino: 53 KIAS
Vento al traverso dimostrato: 5 kts

Targhette di Limitazione

VELOCITÀ MINIMA TRAINO = 53 KIAS
CONSULTARE SUPPLEMENTO 9.2
DEL MANUALE DI VOLO
PER LIMITAZIONI DURANTE
OPERAZIONI DI TRAINO

2.4 - Procedure di Emergenza

Rilascio Striscione di Emergenza

  1. Individuare un luogo sicuro a terra per il rilascio dello striscione
  2. Attivare la leva di rilascio

Se lo striscione viene rilasciato correttamente:

  1. Controllare l'aeromobile
  2. Atterrare

Se lo striscione NON si rilascia:

  1. Flap: come necessario
  2. Manetta motore: come necessario
  3. Impostare planata per far toccare lo striscione all'inizio pista
  4. Controllare la posizione dello striscione
  5. Atterrare

2.5 - Procedure Normali

Ispezione in Cabina

  • Peso e altitudine aeroporto: verificare compatibilità
  • Leva di rilascio: controllare

Ispezione Esterna

  • Specchietto retrovisore: regolare e verificare fissaggio
  • Gancio di rilascio: verificare funzionalità

Prima del Decollo

Posizionamento striscione prima del decollo
Fig. 9-1: Posizionamento striscione prima del decollo
ATTENZIONE Per ridurre la resistenza a terra dello striscione, il decollo dovrebbe essere effettuato su una pista asfaltata o su una pista in erba corta/asciutta.

2.6 - Prestazioni Dati Approvati

Condizioni (Striscione 140 m²):

  • Flap: 15°
  • Peso al decollo: 460 kg
  • Manetta motore: Piena
  • Pista: erba compatta asciutta

Superficie striscione = 140 m²

Peso
kg
Alt.
ft
5 °C 15 °C 25 °C 35 °C
Corsa 15m Corsa 15m Corsa 15m Corsa 15m
4600106232199437279612357784
1000115253217476304667390855
2000126276237520332729425933
30001373012595683637964651019
AVVERTENZA Per ottenere un rateo di salita al decollo di 2m/s o superiore, da qualsiasi altitudine e condizione di temperatura, il peso massimo al decollo (con striscione da 140m²) non deve superare 460 kg.

Lista Equipaggiamenti per Traino Striscioni

Rif. Descrizione & P/N Peso kg Datum m
F1Towing Hook assy3.84.01
F2Rear-view mirror 92-12-900-0000.21.60
Assemblaggio trave di supporto
Fig. 9-2: Assemblaggio trave di supporto / Connessione gancio
Leva di rilascio
Fig. 9-3: Leva di rilascio / Cavo Bowden
Gancio TOST E85
Fig. 9-4: Gancio TOST E85
Specchietto retrovisore
Fig. 9-5: Specchietto retrovisore

Supplemento N° 3

SISTEMA FRENI DIFFERENZIALI

3 - Introduzione

Questa sezione contiene informazioni supplementari per il funzionamento sicuro ed efficiente dell'aeromobile se equipaggiato con il sistema freni differenziali.

3.1 - 3.6

Nessuna variazione rispetto al manuale base.

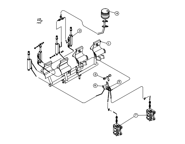
3.7 - Sistemi

I freni delle ruote sinistra e destra sono sistemi indipendenti. Il sistema ha un serbatoio visibile da una finestrella sul vano bagagli. Il serbatoio è direttamente collegato ai cilindri freno principali.

La valvola del freno di parcheggio è montata sul pavimento della fusoliera, sotto i sedili ed è attivata dalla leva. Ogni ruota principale ha un disco freno.

Schema sistema freni differenziali
Fig. 9-6: Sistema freni differenziali
Targhetta freno di parcheggio
Fig. 9-7: Targhetta freno di parcheggio (RELEASE/LOCK - PARKING BRAKE)

Supplemento N° 4

SISTEMA CONTROLLO MANETTA CENTRALE

4 - Introduzione

Questa sezione contiene informazioni supplementari per il funzionamento sicuro ed efficiente dell'aeromobile se equipaggiato con il sistema di controllo manetta centrale.

4.1 - 4.6

Nessuna variazione rispetto al manuale base.

4.7 - Sistemi

La leva manetta motore si trova sul lato sinistro e la leva choke sul lato destro. La frizione delle leve si trova sul lato destro del sistema di controllo manetta centrale.

Sistema manetta centrale con leva Carb. Heat
Fig. 9-3A: Sistema manetta centrale con leva Carb. Heat
Sistema manetta centrale
Fig. 9-3B: Sistema manetta centrale

Supplemento N° 5

NUOVO PANNELLO STRUMENTI ANALOGICI

5 - Introduzione

Questa sezione contiene informazioni supplementari per il funzionamento sicuro ed efficiente dell'aeromobile se equipaggiato con il nuovo pannello strumenti analogici.

5.2 - 5.7

Nessuna variazione rispetto al manuale base.

5.8 - Sistemi

Il nuovo pannello strumenti analogici è progettato con un concetto modulare per migliorare la visibilità degli strumenti.

Il pannello è diviso in tre parti principali: sinistra (strumenti di volo), centrale (strumenti avionici), destra (strumenti motore).

Nuovo pannello strumenti analogici
Fig. 9-4: Nuovo pannello strumenti analogici

Supplemento N° 6

SUPPLEMENTO MANUALE DI VOLO AEROMOBILI CINA

Registro Revisioni

Rev Pagina Descrizione Approvazione
0DOA

6 - Targhette in Cinese

Targhetta Cinese
THROTTLE 油门
THROTTLE LOCK 油门阀
CABIN HEAT Pull-on 客舱加热 拉-开
CARB. HEAT Pull-on 汽化器加热 拉-开
MASTER / GENERATOR ON/OFF 主开关 / 发电机 开/关
Fuel Pump ON/OFF 油泵 开/关
No smoking 禁止吸烟
NO STEP 请勿踩踏
NOTA Va=97 KIAS quando viene applicato l'incremento di peso a 600 Kg.

Supplemento N° 7

SUPPLEMENTO MANUALE DI VOLO AEROMOBILI ARGENTINA

Registro Revisioni

Rev Pagina Descrizione Approvazione
0DOA

7 - Introduzione

Questa sezione contiene informazioni supplementari per il funzionamento sicuro ed efficiente dell'aeromobile consegnato in Argentina.

7.3 - Limitazioni

AVVERTENZA Le limitazioni, le operazioni e le prestazioni associate a 600 Kg MTOW sono applicabili solo per aeromobili che incorporano la modifica MOD 92/41, o applicano il Service Bulletin SB 011-CS come retrofit.

7.3.1 - Carburante

CARBURANTE APPROVATO MOGAS ASTM D4814
AVGAS 100L (ASTM D910)

7.3.2 - Equipaggiamento Richiesto

L'aeromobile, nella configurazione standard, è approvato solo per operazioni VFR diurne con contatto visivo del terreno.

7.3.3 - Targhette di Limitazione

Sul lato sinistro del cruscotto sarà presente la seguente targhetta:

NO FUMAR

Vicino al vano bagagli sarà presente la seguente targhetta:

ASEGURAR LA RED
PESO MÁXIMO 20 Kg
MÁXIMA PRESIÓN 12,5 Kg/dm²

7.8 - Descrizione Aeromobile e Sistemi

Targhette aggiuntive:

EXTINTOR DE INCENDIO EN
EL PISO DEL COMPARTIMIENTO DE EQUIPAJE
MOGAS ASTM D4814
AVGAS 100LL (ASTM D910)
CAPACIDAD 45 Lt (11,9 US gal)
EN CASO DE EMERGENCIA
TOME LA MANIJA Y
TIRE CON FUERZA DE AQUÍ.
CONEXIÓN DE ENERGÍA EXTERNA
12 VOLT - DC
BATERÍA ADENTRO
NO PISAR

MANUALE DI VOLO P92-JS - SEZIONE 9: SUPPLEMENTI

Edizione 3 - Revisione 5 - 12 Luglio 2022

Traduzione italiana a scopo didattico - Fare sempre riferimento al documento originale in inglese

Scarica PDF Originale Sezione 9 (Inglese)

← Sezione 8: Movimentazione Indice Manuale